
ACTUATOR, ASSY, POWER SEAT, 5" STROKE, W/UNIVERSAL FRICTION LOCK PLATE, JAZZYULTRA
Monster Scooter Parts
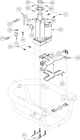
Lift Actuator Assembly for the Jazzy 1103 Ultra (FRMASMB6369)
Pride Mobility
SCREW, HEX HEAD, .250-20 X 1.75, SAE J429, GR 8, BZ, PVTP,B-1005-139 (SCRHHCS1489)
Monster Scooter Parts
M8-1.25x7.65 Black Lock Nut (NUTNYLK1011)

STABILIZER, POWER SEAT ACTUATOR, D-1054-020
Pride Mobility
SCREW, SOCKET HEAD, M8X1.25 X 35, FT, ISO 4762, CL 12.9, BZ (UNBRAKO PN 22113) (HDW138213)
Monster Scooter Parts
Power Seat Actuator Assembly with 5" Stroke for the Jazzy 1103 Ultra (FRMASMB6364)

ACTUATOR, POWER SEAT, 5" STROKE, E-1010-285

ACTUATOR INHIBIT MOUNTING BLOCK, B-1010-047

BUSHING, BLACK, NYLON, A-1107-028
Pride Mobility
ELECTRONIC,ASSY,POWER SEAT INHIBIT SWITCH,W/MOUNTING BRACKET (ELEASMB3888)

U-BOLT, M6-1.0, B-1054-037
Monster Scooter Parts
Monster Scooter Parts
Power Seat Inhibit Trip Switch Bracket for the Jazzy 610 and 1103 Ultra (DWR1054C036)

SCREW, PPH, BLACK, 4-40 X 0.50", GRADE 2

ELECTRONIC, SWITCH, MICRO, SPDT, ROLLER, X3C306K2LBT02

FRAME, ASSY, UNIVERSAL FRICTION LOCK SEAT, E-1000-153
